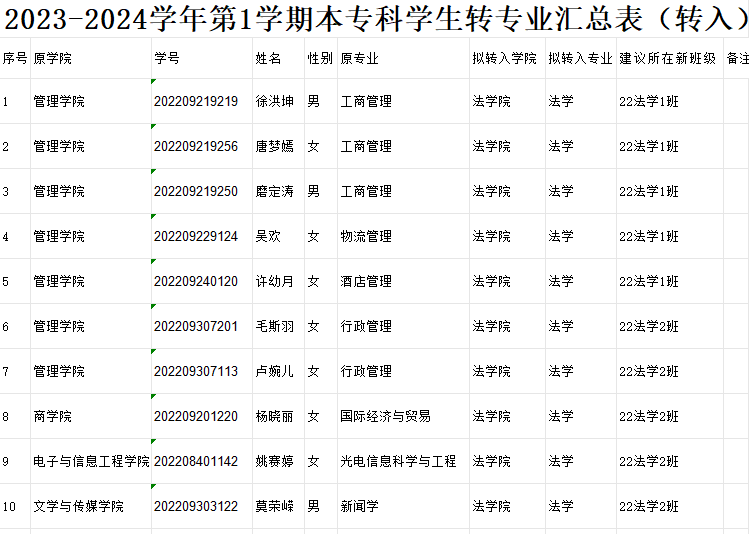
根据教育部《普通高等学校学生管理规定》(教育部第41号令)、《高等学校学生学籍学历电子注册方法》(教学〔2014〕11号)、《梧州学院学生管理规定(修订)》(梧院学〔2017〕283号)以及《梧州学院转专业管理办法(修订)》(梧院学〔2019〕17号),经过学生本人申请、学院面试、我院评审委员会审议,按照公开、公平、公正的原则组织评议,同意以下10名同学转入法学院,现将名单予以公示如下:

如对以上名单有异议,请在公示期内向法学院党政办公室(九楼)以书面形式并署上真实姓名反映。
公示时间:2023年9月25日至2023年9月27日
联系电话:0774-5835619
梧州学院法学院
2023年9月25日